NeoStead 2000
| NS2000 | |
|---|---|
| Type | Bullpup combat shotgun |
| Place of origin | South Africa |
| Production history | |
| Designer | Anthony S. Neophytou and Heyns W. Stead |
| Designed | 1992 |
| Manufacturer | Truvelo Armoury |
| Produced | 2001–present |
| Specifications | |
| Mass | 3.9 kg (8.6 lb) |
| Length | 686 mm (27.0 in) |
| Barrel length | 572 mm (22.5 in) |
| Cartridge | 12 gauge |
| Action | Pump-action |
| Feed system | 12-round Overhead dual tubular magazine (6 rounds per tubular magazine) or 10-round Overhead dual tubular magazine (5 rounds per tubular magazine) |
| Sights | Iron sights |
The NeoStead 2000 (NS2000) is a bullpup combat shotgun developed by Truvelo Armoury of South Africa.[1]
Production of the shotgun began in 2001 and the first models were made available in October of that same year. It is notable due to its unusual forward-and-back pump-action cycling motion.
Design and production
The NS2000 is a 12-gauge pump-action shotgun weighing just under 4 kg (8.8 lb), designed primarily for security and civil disturbance situations.
The firearm includes a 570 mm (22 in) barrel despite the overall weapon length of just 690 mm (27 in). The short length makes the weapon easier to handle in close-quarters situations; however it can still remain accurate at relatively long ranges. The long barrel length is achieved by using a bullpup configuration, with a rear-fed tubular magazine.
Another aspect of the NS2000 is its dual six-round (6+6) magazine. The selector switch can be set to left, right, or alternating. In riot conditions, for example, less-lethal flexible baton rounds can be used with standard rounds in reserve.
A possible production variant of the NS2000 has a 460 mm (18 in) barrel in a weapon with an overall length of 560 mm (22 in). The shorter barrel length reduces capacity to a dual five-round (5+5) magazine. This makes the weapon easier to import or licence in some countries.
Its pump-action mechanism operates in a forward-and-back motion due to its moving-barrel mechanism, instead of the traditional moving-action of back-and-forward motion. This method of operation is quite rare. Safety is increased by this method, since the pumping hand cannot accidentally slide in front of the shooting barrel.[2]
The NS2000 has been available for civilian purchase since 2003, with the majority of sales in Europe.
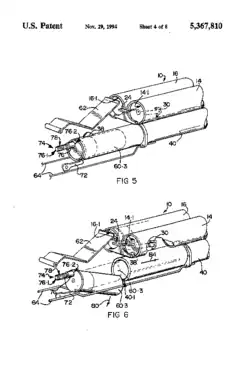
Patent drawings
Patent drawings of the NeoStead 2000.
-
Magazine in loading position -
Details of Magazine -
Feeding is possible only from one tube, the other is blocked -
Ejecting the empty shell -
Feeding a new shell
See also
References
- ^ "Modern Firearms - Neostead shotgun". Archived from the original on 2004-10-10. Retrieved 2004-10-11.
- ^ "NeoStead 2000 (NS2000)". militaryfactory.com. Retrieved 27 August 2023.