Flettner Fl 184

Fl 184
General information
TypeAutogyro
ManufacturerFlettner
Designer
Number built1
History
First flight1930s
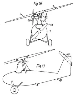
Image from Anton Flettner's autogyro patent, "Aircrfaft", US Patent 2030578, 2 October 1933

The Flettner 184 was a German night reconnaissance and anti-submarine autogyro developed during the 1930s.

Design

The Fl 184 was a two-seat autogyro with an enclosed cabin. The Fl 184 rotors had a length of 12 m and a cyclic pitch control system. The aircraft's power was supplied by a 160 PS (160 hp; 120 kW) Siemens-Halske Sh 14A radial engine that drove a two-bladed wooden propeller.

Operational history

The sole Fl 184, given the registration D-EDVE, was scheduled to be tested for night reconnaissance in late 1936. However, before these tests could take place, it caught fire whilst in flight and crashed.

After the crash the entire program was cancelled and no more aircraft were manufactured.

Specifications

Data from [1]

General characteristics

  • Crew: 2
  • Powerplant: 1 × Siemens-Halske Sh 14A 7-cyl. air-cooled radial piston engine, 120 kW (160 hp)
  • Main rotor diameter: 12 m (39 ft 4 in)
  • Main rotor area: 113.1 m2 (1,217 sq ft) 3-bladed autorotating
  • Propellers: 2-bladed fixed pitch tractor propeller

Performance

References

  1. ^ Nowarra, Heinz J. (1993). Die Deutsche Luftruestung 1933-1945 Vol.2 - Flugzeugtypen Erla-Heinkel (in German). Koblenz: Bernard & Graefe Verlag. pp. 37, 262–263. ISBN 3-7637-5464-4.

Further reading

  • Lienhard, Bruce H. Charnov ; foreword by John (2003). From autogiro to gyroplane : the amazing survival of an aviation technology. Westport, Conn.: Praeger. ISBN 978-1567205039.{{cite book}}: CS1 maint: multiple names: authors list (link)